返回上一级

字号

打印

《城市存量空间盘活优化规划指南》等13项行业标准发布 2025-10-14

自然资源部关于发布《城市存量空间盘活优化规划指南》等13项行业标准的公告

2025年第60号

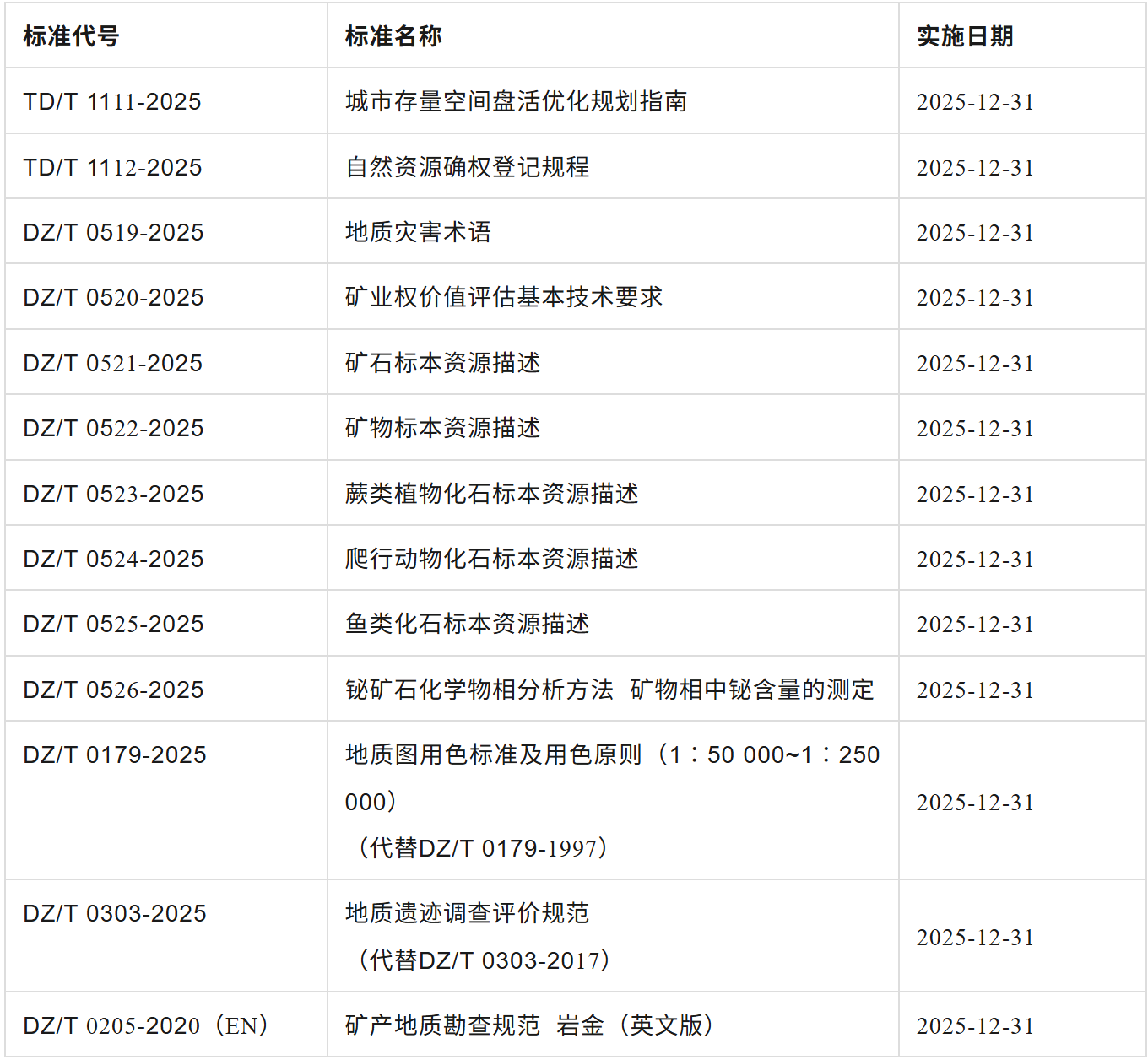
《城市存量空间盘活优化规划指南》等13项行业标准已通过全国自然资源与国土空间规划标准化技术委员会审查,经2025年第5次部长办公会审议通过,现予批准发布。

1.png

自然资源部

2025年10月9日


来源:上海规划资源